今天要帮大家测评一家平台,有用户反馈这家新平台刚成立,就开始推广高收益外汇理财,不知道靠谱不靠谱。
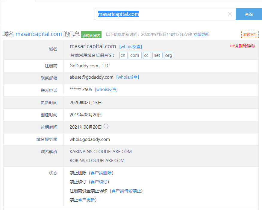
这家平台叫Masari Capital,成立于2019年,全球排名2001名,目前无监管,没有监管信息,没有外汇牌照,不能做外汇保证金交易,风险扫描显示18条风险,投资者资金安全无保障。

Masari Capital平台服务器有3台,在美国和英国。

主白标关系显示,Masari Capital平台和国内已经停止经营的平台Prosperity平台是一家公司,从他们的服务器地址,网站的模板来看,都可以看出来相似的地方。

已经停止经营的平台Prosperity平台只经营的几个月时间,也是提供高收益外汇理财,结果在募集了大量客户资金之后,就卷款跑路。
很明显,Masari Capital平台的最终结果和Prosperity是一样的。Prosperity平台在2019年成立,暴雷后在几个月成立了Masari Capital平台,并且还是使用没有外汇资质的金融牌照,用一样的没有备案的域名和一样的网站模板继续在国内收割韭菜。
Masari Capita平台在斑马投诉暂未收到投诉信息。
金融市场良莠不齐,都有投资风险,我们只有在投资之前把平台调查清楚。防雷防骗,先上海投排行。