今天要帮大家测评一家平台,有用户反馈这家新平台刚成立,就开始推广高收益外汇理财,不知道靠谱不靠谱。
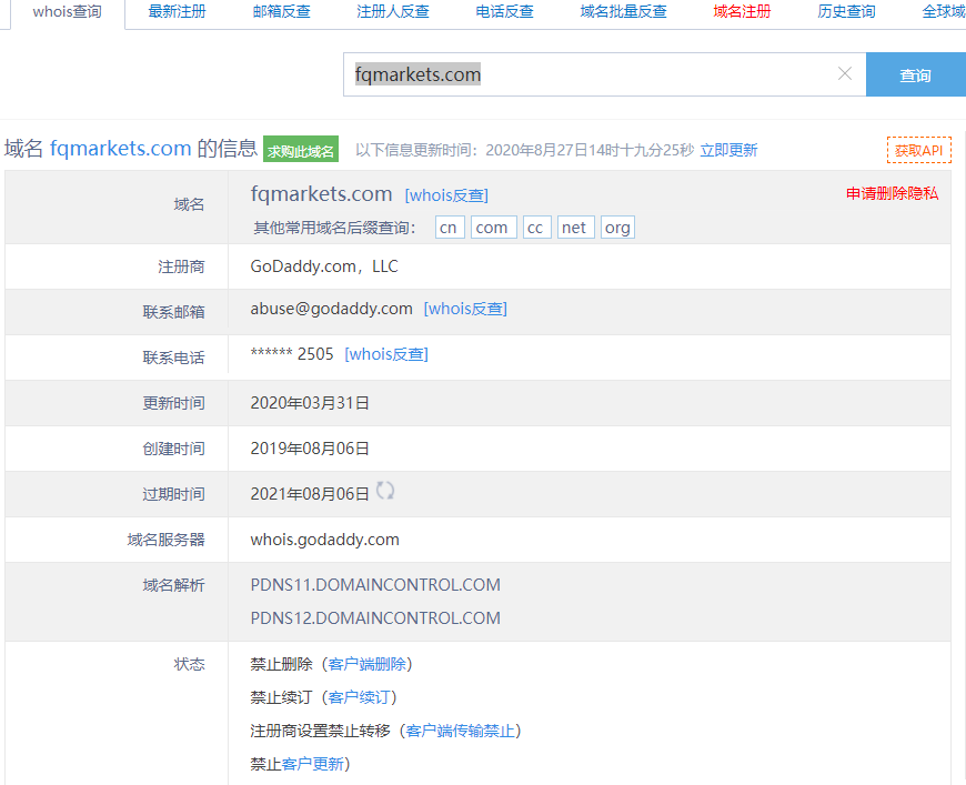
这家平台叫FQMarkets,成立于2019年,全球排名2005名,目前由“圣文森特和格林纳丁斯”监管,监管状态暂无,但是没有外汇牌照,不能做外汇保证金交易,风险扫描显示3条风险,投资者资金安全无保障。

FQMarkets平台服务器有1台,在美国。

主白标关系显示,FQMarkets平台和国外Alpha FX平台是一家公司,从他们的服务器地址,网站的模板来看,都可以看出来相似的地方。

目前斑马投诉中暂未收到相关投诉信息。
金融市场良莠不齐,都有投资风险,我们只有在投资之前把平台调查清楚。防雷防骗,先上海投排行。