FTM forex外汇监管合规吗?资金安全可以出金吗?

Apple 2021-12-15 12:36:54

今天要帮大家测评一家平台,有用户反馈这家新平台刚成立,就开始推广高收益外汇理财,不知道靠谱不靠谱。

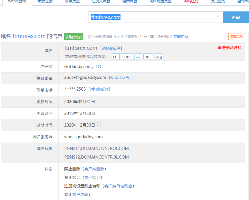
这家平台叫FTM forex,成立于2018年,全球无排名,目前暂无监管,没有外汇牌照,不能做外汇保证金交易,投资者资金安全无保障。

FTM forex平台服务器有1台,地点暂未显示。

主白标关系暂无。

目前斑马投诉中暂未收到相关投诉信息。

金融市场良莠不齐,都有投资风险,我们只有在投资之前把平台调查清楚。防雷防骗,先上海投排行。


声明:本文内容不代表斑马投诉网站观点,内容仅供参考,不构成投资建议。投资有风险,选择需谨慎! 如涉及内容、版权等问题,请联系我们,我们会在第一时间作出调整!

相关文章