海投排行前100名的外汇平台,大家可以参考选择,如果没有在100名以内,要特别注意平台的主白标关系和风险提示。
今天要帮大家测评一家平台,有用户反馈这家SL MARKETS平台刚成立,就开始推广高收益外汇理财,不知道靠谱不靠谱。
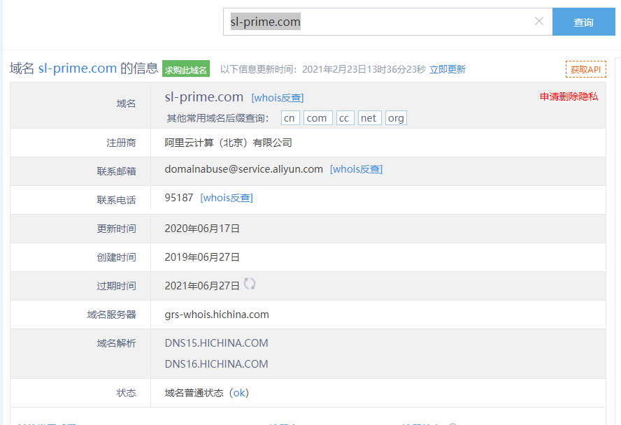
这家平台叫SL MARKETS,成立于2019年,全球排名1332名,目前被新西兰监管,但是没有外汇牌照,不能做外汇保证金交易,风险扫描显示15条风险,投资者资金安全无保障。

SL MARKETS平台服务器有1台,在英国。
SL MARKETS没有相关联主白标。

金融市场良莠不齐,都有投资风险,我们只有在投资之前把平台调查清楚。防雷防骗,先上海投排行。