CGML外汇监管合规吗?出入金顺利吗?

Apple 2022-02-28 11:50:08

海投排行前100名的外汇平台,大家可以参考选择,如果没有在100名以内,要特别注意平台的主白标关系和风险提示。

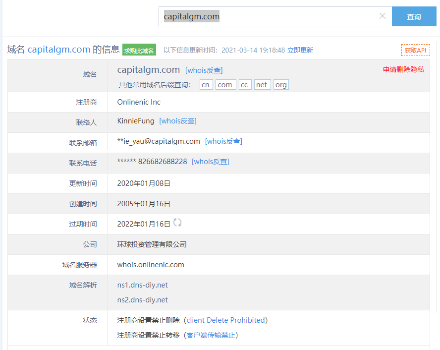
今天要帮大家测评一家平台,有用户反馈这家CGML平台刚成立,就开始推广高收益金融服务,不知道靠谱不靠谱。

这家平台叫CGML,成立于2005年,目前被香港监管,但是没有外汇牌照,不能做外汇保证金交易,风险扫描显示3条风险,投资者资金安全无保障。

CGML没有平台服务器也没有相关联主白标。

金融市场良莠不齐,都有投资风险,我们只有在投资之前把平台调查清楚。防雷防骗,先上海投排行。



声明:本文内容不代表斑马投诉网站观点,内容仅供参考,不构成投资建议。投资有风险,选择需谨慎! 如涉及内容、版权等问题,请联系我们,我们会在第一时间作出调整!

相关文章