海投排行前100名的外汇平台,大家可以参考选择,如果没有在100名以内,要特别注意平台的主白标关系和风险提示。
今天要帮大家测评一家平台,有用户反馈这家新平台刚成立,就开始推广高收益外汇理财,不知道靠谱不靠谱。
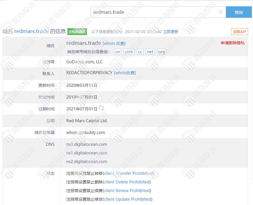
这家平台叫Red Mars ,成立于2019年,全球排名4604名,目前无监管,没有外汇牌照,不能做外汇保证金交易,投资者资金安全无保障。

Red Mars平台服务器有1台 ,在英国。
主白标关系显示Red Mars平台暂无关联平台


金融市场良莠不齐,都有投资风险,我们只有在投资之前把平台调查清楚。防雷防骗,先上海投排行。