海投排行前100名的外汇平台,大家可以参考选择,如果没有在100名以内,要特别注意平台的主白标关系和风险提示。
今天要帮大家测评一家平台,有用户反馈这家HKBFX平台刚成立,就开始推广高收益外汇理财,不知道靠谱不靠谱。
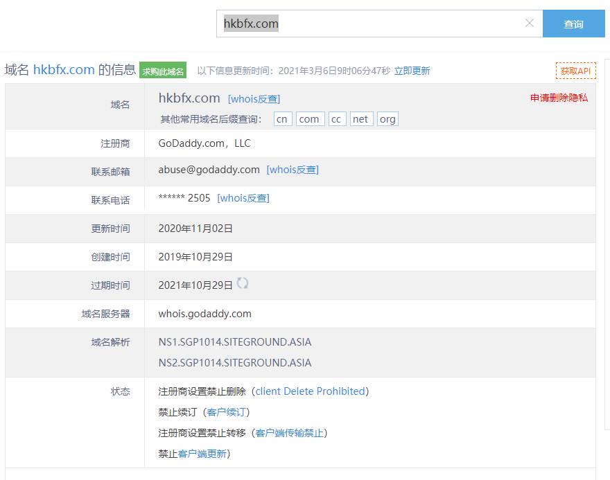
这家平台叫HKBFX,成立于2019年,全球排名1139名,目前被圣文森特和格林纳丁斯监管,但是没有外汇牌照,不能做外汇保证金交易,风险扫描显示7条风险,投资者资金安全无保障。

HKBFX平台服务器有2台,在法国和英国。
主白标关系显示,HKBFX平台和国内已经停止经营的平台Union FX平台是一家公司,从他们的服务器地址,网站的模板来看,都可以看出来相似的地方。

已经停止经营的平台Union FX平台只经营的几个月时间,也是提供高收益外汇理财,结果在募集了大量客户资金之后,就捐款跑路。
很明显,HKBFX平台的最终结果和Union FX是一样的。Union FX平台在2020年成立,暴雷后在2019年成立了HKBFX平台,并且还是使用没有外汇资质的金融牌照,用一样的没有备案的域名和一样的网站模板继续在国内收割韭菜。
金融市场良莠不齐,都有投资风险,我们只有在投资之前把平台调查清楚。防雷防骗,先上海投排行。