海投排行前100名的外汇平台,大家可以参考选择,如果没有在100名以内,要特别注意平台的主白标关系和风险提示。
今天要帮大家测评一家平台,有用户反馈这家新平台刚成立,就开始推广高收益外汇理财,不知道靠谱不靠谱。
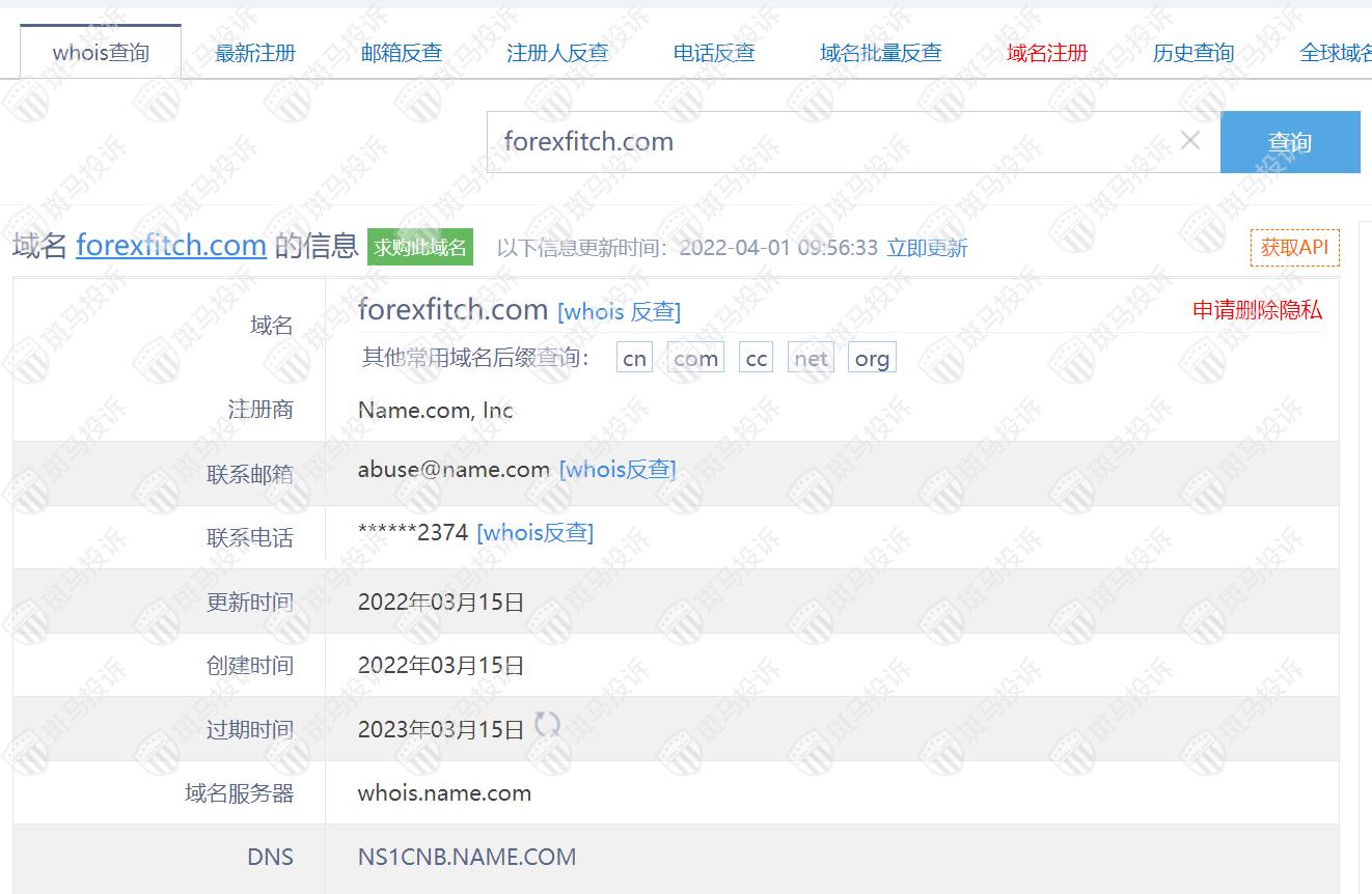
这家平台叫Fitch Forex,成立于2022年,全球活跃指数4560名,目前无监管,没有外汇牌照,不能做外汇保证金交易,风险扫描显示1条风险,投资者资金安全无保障。

Fitch Forex平台服务器有1台,在美国。
主白标关系显示,Fitch Forex平台未和其他平台存在关联。


Fitch Forex平台目前在斑马投诉未收到相关投诉。
金融市场良莠不齐,都有投资风险,我们只有在投资之前把平台调查清楚。防雷防骗,先上海投排行。
外汇密探财经导航PC端应用上线,下载网址:http://www.fx007004.cyou/download_page/index.html (请在电脑浏览器复制链接打开,并下载应用)