外汇密探财经导航PC端应用上线,下载网址:http://www.fx007004.cyou/download_page/index.html(请在电脑浏览器复制链接打开,并下载应用)。
海投排行前100名的外汇平台,大家可以参考选择,如果没有在100名以内,要特别注意平台的主白标关系和风险提示。
今天要帮大家测评一家平台,有用户反馈这家新平台刚成立,就开始推广高收益外汇理财,不知道靠谱不靠谱。
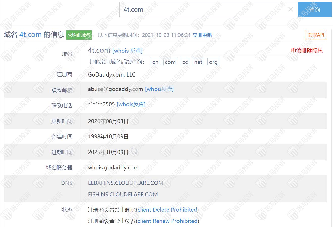
这家平台叫4T,成立于2020年,全球排名1563名,目前由黎巴嫩资本市场管理局CMA和塞舌尔FSA监管,属于超限经营,没有外汇牌照,不能做外汇保证金交易,投资者资金安全无保障。

4T平台服务器有4台,在英国。
主白标关系显示4T平台暂无关联平台。


斑马投诉显示4T平台暂未收到用户投诉。
金融市场良莠不齐,都有投资风险,我们只有在投资之前把平台调查清楚。防雷防骗,先上海投排行。